Ker industrije po vsem svetu vse bolj dajejo prednost trajnosti, Shandong Yinchi Environmental Protection Equipment Co., Ltd. stoji v ospredju inovacij in ponuja vrhunske rešitve za varstvo okolja in učinkovito ravnanje z materialom. Z zavezanostjo kakovosti in tehnologiji se je Yinchi uveljavil kot......
Preberi večV svetu industrijske avtomatizacije in ravnanja z materiali zaprti rotacijski ventil izstopa kot kritična komponenta, ki povečuje učinkovitost in zanesljivost procesa. Toda kaj točno je zaprti rotacijski ventil in zakaj postaja vse bolj priljubljen v različnih sektorjih?
Preberi večV sodobni industriji, kjer sta natančnost in učinkovitost kritični, izstopa rotacijski ventil za izpust silosa kot bistvena komponenta pri upravljanju razsutega materiala. Ta visoko zmogljiv ventil, zasnovan posebej za ravnanje z materiali iz silosov in zalogovnikov, zagotavlja nemoteno, nadzorovano......
Preberi večKer industrije še naprej uvajajo inovacije in se širijo, postane povpraševanje po zanesljivi opremi za ravnanje z materialom bistveno za ohranjanje učinkovitosti in produktivnosti. Rotacijski ventil je v ospredju te inovacije in ponuja kritično rešitev za pnevmatske transportne sisteme, zbiranje pra......
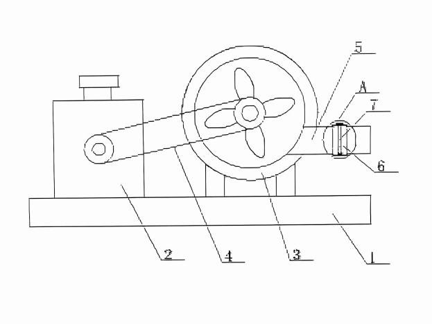
Preberi večV hitro razvijajočem se industrijskem sektorju sta učinkovitost in zanesljivost najpomembnejši, ko gre za sisteme za dovod zraka. Ena izstopajoča rešitev, ki pritegne pozornost, je veliki prostorninski trikraki klinasti jermen Roots Blower. Ta napredna oprema zbuja valove zaradi svoje neprimerljive ......
Preberi večV sodobni industrijski proizvodnji povpraševanje po okoljski opremi hitro narašča. Kot vodilno podjetje v okoljskem sektorju je Shandong Yinchi Environmental Protection Equipment Co., Ltd. posvečen napredku industrije z inovativnimi tehnologijami in visoko učinkovito opremo. Najnovejši pnevmatski tr......
Preberi večV današnjem hitrem industrijskem okolju sta učinkovitost in zanesljivost ključnega pomena. Ena komponenta, ki igra ključno vlogo pri ohranjanju teh standardov, je PU cev (poliuretanska cev). Ker se industrije vse bolj zanašajo na pnevmatske sisteme za vrsto nalog, postane izbira prave cevi bistveneg......
Preberi večPodjetje Shandong Yinchi Environmental Protection Equipment Co., Ltd. je ponosno objavilo pridobitev novega patenta z naslovom "Roots Blower for Internal Combustion Engines." Ta prelomna inovacija naj bi revolucionirala zmogljivost in učinkovitost puhal Roots, zlasti v industrijskih aplikacijah, ki ......
Preberi več